Αναλώσιμα
E01 ΚΑΠΑΚΙ ΚΕΦΑΛΗΣ ΚΥΛΙΝΔΡΟΥ
E02 ΚΕΦΑΛΗ ΚΥΛΙΝΔΡΟΥ
E03 ΕΚΚΕΝΤΡΟΦΟΡΟΣ & ΒΑΛΒ ΕΙΣΑΓ/ΕΞΑΓ
E04 ΚΑΔΕΝΑ ΕΚΚΕΝΤΡΟΦΟΡΟΥ
E05 ΚΑΡΤΕΡ
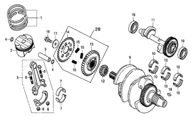
E06 ΣΤΡΟΦΑΛΟΣ & ΠΙΣΤΟΝΙ
E07 ΑΞΟΝΑΣ ΤΑΧΥΤΗΤΩΝ ΠΡΩΤΕΥΩΝ & ΔΕΥΤΕΡΕΥΩΝ
E08 ΑΞΟΝΑΣ ΤΑΧΥΤΗΤΩΝ
E09 ΣΥΜΠΛΕΚΤΗΣ
E10 ΚΑΠΑΚΙ ΚΙΝΗΤΗΡΑ ΔΕ
E11 ΒΟΛΑΝ & ΜΑΝΙΑΤΟ
E12 ΚΑΠΑΚΙ ΚΙΝΗΤΗΡΑ ΑΡ & ΜΙΖΑ
E13 ΚΑΡΤΕΡ ΛΑΔΙΟΥ
E14 ΑΝΤΛΙΑ ΝΕΡΟΥ
F01 ΚΙΝΗΤΗΡΑΣ ΚΟΜΠΛΕ
F02 ΣΥΣΤΗΜΑ ΨΥΞΗΣ
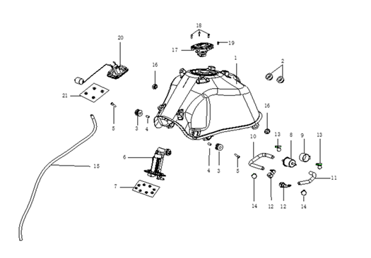
F03 ΝΤΕΠΟΖΙΤΟ ΒΕΝΖΙΝΗΣ
F04 ΦΙΛΤΡΟ ΕΝΕΡΓΟΥ ΑΝΘΡΑΚΑ
F05 ΦΙΛΤΡΟ ΑΕΡΑ
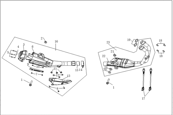
F06 ΕΞΑΤΜΙΣΗ ΚΟΜΠΛΕ
F07 ΣΚΕΛΕΤΟΣ
F08 ΠΙΡΟΥΝΙ ΕΜΠΡΟΣΘΙΟ
F09 ΣΥΣΤΗΜΑ ΔΙΕΥΘΥΝΣΗΣ
F10 ΨΑΛΙΔΙ ΟΠΙΣΘΙΟ
F11 ΤΡΟΧΟΣ ΕΜΠΡΟΣΘΙΟΣ
F12 ΤΡΟΧΟΣ ΟΠΙΣΘΙΟΣ
F13 ΣΥΣΤΗΜΑ ABS & ΤΑΚΑΚΙΑ
F14 ΜΑΡΣΠΙΕΣ ΕΜΠΡ/ΟΠΙΣΘ
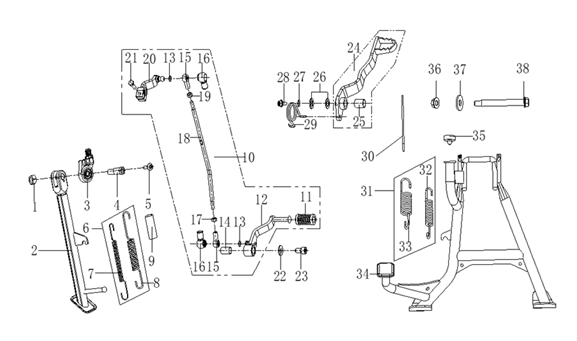
F15 ΛΕΒΙΕΣ ΤΑΧΥΤΗΤΩΝ & ΠΟΔΟΦΡΕΝΟ
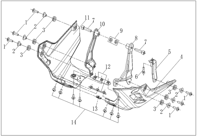
F16 ΠΟΔΙΕΣ ΜΠΡΟΣΤΙΝΕΣ
F17 ΚΑΛΥΜΜΑ ΝΤΕΠΟΖΙΤΟΥ ΑΡ/ΔΕ
F18 ΔΙΑΚΟΣΜ ΝΤΕΠΟΖΙΤΟΥ ΒΕΝΖΙΝΗΣ
F19 ΠΟΔΙΑ ΑΡ/ΔΕ
F20 ΣΕΛΛΑ
F21 ΦΤΕΡΑ ΟΠΙΣΘΙΑ
F22 ΛΑΣΠΩΤΗΡΑΣ ΜΟΤΕΡ ΑΡ/ΔΕ
F23 ΚΟΝΤΕΡ
F24 ΣΧΑΡΑ ΟΠΙΣΘΙΑ
F25 ΠΡΟΣΤ/ΚΟ ΣΙΔΕΡΟ ΑΡ/ΔΕ
F26 ΣΧΑΡΑ ΟΠΙΣΘΙΑ & ΒΑΛΙΤΣΕΣ
F27 ΚΑΛΩΔΙΩΣΗ & ΗΛΕΚΤΡΙΚΑ ΜΕΡΗ